Product Summary
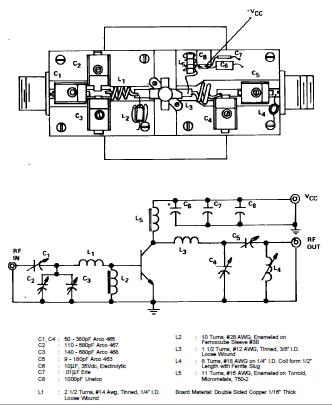
The SD1446 is a 12.5 V Class C epitaxial silicon NPN planar transistor designed primarily for land mobile transmitter applications. The SD1446 utilizes emitter ballasting and is extremely stable and capable of withstanding high VSWR under operating conditions.
Parametrics
SD1446 absolute maximum ratings: (1)VCBO Collector-Base Voltage: 36 V; (2)VCEO Collector-Emitter Voltage: 18 V; (3)VEBO Emitter-Base Voltage: 3.5 V; (4)IC Device Current: 12.0 A; (5)PDISS Power Dissipation: 183 W; (6)TJ Junction Temperature: +200℃; (7)TSTG Storage Temperature: - 65℃ to +150℃.
Features
SD1446 features: (1)50 MHz; (2)12.5 Volts; (3)Efficiency 55%; (4)Common emitter; (5)Gold metallization; (6)POUT = 70 W MIN. with 10 dB gain.
Diagrams

| Image | Part No | Mfg | Description | ![]()  | 
                            Pricing (USD)  | 
                            Quantity | ||||||||||||
|---|---|---|---|---|---|---|---|---|---|---|---|---|---|---|---|---|---|---|
![]()  | 
                            ![]() SD1446  | 
                            ![]() Advanced Semiconductor, Inc.  | 
                            ![]() Transistors RF Bipolar Power RF Transistor  | 
                            ![]() Data Sheet  | 
                            ![]() 
  | 
                            
                            	 | 
                      ||||||||||||
| Image | Part No | Mfg | Description | ![]()  | 
                            Pricing (USD)  | 
                            Quantity | ||||||||||||
![]()  | 
                            ![]() SD1400  | 
                            ![]() Other  | 
                            ![]()  | 
                            ![]() Data Sheet  | 
                            ![]() Negotiable  | 
                            
                            	 | 
                      ||||||||||||
![]()  | 
                            ![]() SD1400A  | 
                            ![]() Other  | 
                            ![]()  | 
                            ![]() Data Sheet  | 
                            ![]() Negotiable  | 
                            
                            	 | 
                      ||||||||||||
![]()  | 
                            ![]() SD1405  | 
                            ![]() STMicroelectronics  | 
                            ![]() Transistors RF Bipolar Power NPN 12.5V 30MHz  | 
                            ![]() Data Sheet  | 
                            ![]() Negotiable  | 
                            
                            	 | 
                      ||||||||||||
![]()  | 
                            ![]() SD1407  | 
                            ![]() Advanced Semiconductor, Inc.  | 
                            ![]() Transistors RF Bipolar Power RF Transistor  | 
                            ![]() Data Sheet  | 
                            ![]() 
  | 
                            
                            	 | 
                      ||||||||||||
![]()  | 
                            ![]() SD1407-16  | 
                            ![]() STMicroelectronics  | 
                            ![]() Transistors Bipolar (BJT) NPN 28.0V 30MHz  | 
                            ![]() Data Sheet  | 
                            ![]() Negotiable  | 
                            
                            	 | 
                      ||||||||||||
![]()  | 
                            ![]() SD1409  | 
                            ![]() Other  | 
                            ![]()  | 
                            ![]() Data Sheet  | 
                            ![]() Negotiable  | 
                            
                            	 | 
                      ||||||||||||
 (China (Mainland)) 
                         
                        
                                    








