Product Summary
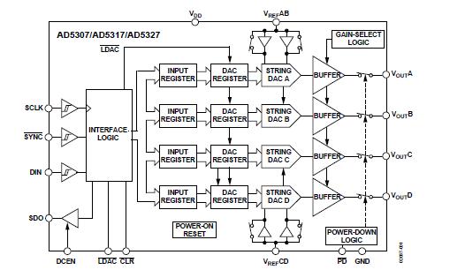
The AD5327ARUZ is a quad 12-bit buffered voltage-output DAC in 16-lead TSSOP that operates from single 2.5 V to 5.5 V supplies and consume 400 μA at 3 V. Its on-chip output amplifier allows the outputs to swing rail-to-rail with a slew rate of 0.7 V/μs. The AD5327ARUZ utilizes versatile 3-wire serial interfaces that operate at clock rates up to 30 MHz; the AD5327ARUZ is compatible with standard MICROWIRE, and DSP interface standard.
Parametrics
AD5327ARUZ absolute maximum ratings: (1)VDD to GND: -0.3 V to +7 V; (2)Digital Input Voltage to GND: -0.3 V to VDD + 0.3 V; (3)Digital Output Voltage to GND: -0.3 V to VDD + 0.3 V; (4)Reference Input Voltage to GND: -0.3 V to VDD + 0.3 V; (5)VOUTA - VOUTD to GND: -0.3 V to VDD + 0.3 V; (6)Operating Temperature Range Industrial (A, B Versions): -40℃ to +105℃; (7)Storage Temperature Range: -65℃ to +150℃; (8)Junction Temperature (TJ max): 150℃.
Features
AD5327ARUZ features: (1)4 buffered 12-bit DACs in 16-lead TSSOP ±16 LSB INL; (2)Low power operation: 400 μA @ 3 V, 500 μA @ 5 V 2.5 V to 5.5 V power supply; (3)Guaranteed monotonic by design over all codes; (4)Double-buffered input logic; (5)Buffered/unbuffered reference input options; (6)SDO daisy-chaining option; (7)On-chip rail-to-rail output buffer amplifiers.
Diagrams

| Image | Part No | Mfg | Description | ![]() |
Pricing (USD) |
Quantity | ||||||||||||||||||||
|---|---|---|---|---|---|---|---|---|---|---|---|---|---|---|---|---|---|---|---|---|---|---|---|---|---|---|
![]() |
![]() AD5327ARUZ |
![]() |
![]() IC DAC 12BIT QUAD W/BUFF 16TSSOP |
![]() Data Sheet |
![]()
|
|
||||||||||||||||||||
| Image | Part No | Mfg | Description | ![]() |
Pricing (USD) |
Quantity | ||||||||||||||||||||
![]() |
![]() AD5300 |
![]() Other |
![]() |
![]() Data Sheet |
![]() Negotiable |
|
||||||||||||||||||||
![]() |
![]() AD5300* |
![]() Other |
![]() |
![]() Data Sheet |
![]() Negotiable |
|
||||||||||||||||||||
![]() |
![]() AD5300BRM |
![]() |
![]() IC DAC 8BIT R-R 2.7-5.5V 8-MSOP |
![]() Data Sheet |
![]()
|
|
||||||||||||||||||||
![]() |
![]() AD5300BRM-REEL |
![]() Analog Devices Inc. |
![]() IC DAC 8BIT R-R 2.7-5.5V 8-MSOP |
![]() Data Sheet |
![]() Negotiable |
|
||||||||||||||||||||
![]() |
![]() AD5300BRM-REEL7 |
![]() Analog Devices Inc |
![]() IC DAC 8BIT R-R 2.7-5.5V 8-MSOP |
![]() Data Sheet |
![]()
|
|
||||||||||||||||||||
![]() |
![]() AD5300BRMZ |
![]() |
![]() IC DAC 8BIT R-R 2.7-5.5V 8-MSOP |
![]() Data Sheet |
![]()
|
|
||||||||||||||||||||
(China (Mainland))













