Product Summary
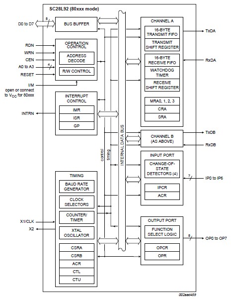
The SC28L92A1B is a pin and function replacement for the SCC2692 and SC26C92 operating at 3.3 V or 5 V supply with added features and deeper FIFOs. Its configuration on power-up is that of the SC26C92. The differences of the SC28L92A1B from the SCC2692 and SC26C92 are: 16 character receiver, 16 character transmit FIFOs, watchdog timer for each receiver, mode register 0 is added, extended baud rate and overall faster speeds, programmable receiver and transmitter interrupts. The NXP Semiconductors SC28L92A1B Dual Universal Asynchronous Receiver/Transmitter (DUART) is a single-chip CMOS-LSI communications device that provides two full-duplex asynchronous receiver/transmitter channels in a single package. It interfaces directly with microprocessors and may be used in a polled or interrupt driven system with modem and DMA interface.
Parametrics
SC28L92A1B absolute maximum ratings: (1)Tamb, ambient temperature: -40 to +85 ℃; (2)Tstg, storage temperature: -65 to +150 ℃; (3)VCC, voltage from VCC to GND: -0.5 to +7.0 V; (4)VS, voltage from any pin to GND: -0.5 to VCC + 0.5 V; (5)PD, package power dissipation: PLCC44: 2.4 W max; QFP44: 1.78 W max; HVQFN48: 0.5 W max; (6)Pder, dissipation derating factor above 25 ℃: PLCC44: 19 mW/℃ max; QFP44: 14 mW/℃ max; HVQFN48: 28 mW/℃ max.
Features
SC28L92A1B features: (1)Member of IMPACT family: 3.3 V to 5.0 V, -40 ℃ to +85 ℃ and 68xxx or 80xxx bus interface for all devices; (2)Dual full-duplex independent asynchronous receiver/transmitters; (3)16 character FIFOs for each receiver and transmitter; (4)Piprogramming selects 68xxx or 80xxx bus interface; (5)Parity, framing, and overruerror detection; (6)False start bit detection; (7)Line break detectioand generation; (8)Maximum data transfer rates: 1× -1 Mbit/s, 16× -1 Mbit/s; (9)Automatic wake-up mode for multi-drop applications; (10)Start-end break interrupt/status; (11)Detects break which originates ithe middle of a character; (12)On-chip crystal oscillator; (13)Power-dowmode; (14)Receiver time-out mode; (15)Single 3.3 V or 5 V power supply; (16)Powers up to emulate SC26C92.
Diagrams

| Image | Part No | Mfg | Description | ![]() |
Pricing (USD) |
Quantity | ||||||||||||||
|---|---|---|---|---|---|---|---|---|---|---|---|---|---|---|---|---|---|---|---|---|
![]() |
![]() SC28L92A1B |
![]() NXP Semiconductors |
![]() UART Interface IC UART DUAL W/FIFO |
![]() Data Sheet |
![]() Negotiable |
|
||||||||||||||
![]() |
![]() SC28L92A1B,528 |
![]() NXP Semiconductors |
![]() UART Interface IC 3V-5V 2CH UART INTEL/MOT INTRF |
![]() Data Sheet |
![]()
|
|
||||||||||||||
![]() |
![]() SC28L92A1B,557 |
![]() NXP Semiconductors |
![]() UART Interface IC UART DUAL W/FIFO |
![]() Data Sheet |
![]()
|
|
||||||||||||||
![]() |
![]() SC28L92A1B,551 |
![]() NXP Semiconductors |
![]() UART Interface IC IC UART DUAL W/FIFO |
![]() Data Sheet |
![]()
|
|
||||||||||||||
![]() |
![]() SC28L92A1BS,528 |
![]() NXP Semiconductors |
![]() UART Interface IC 3V-5V 1CH UART |
![]() Data Sheet |
![]()
|
|
||||||||||||||
![]() |
![]() SC28L92A1BS |
![]() NXP Semiconductors |
![]() UART Interface IC 3V-5V 1CH UART INTEL/MOT INTRF |
![]() Data Sheet |
![]() Negotiable |
|
||||||||||||||
![]() |
![]() SC28L92A1BS,557 |
![]() NXP Semiconductors |
![]() UART Interface IC 3V-5V 1CH UART |
![]() Data Sheet |
![]()
|
|
||||||||||||||
![]() |
![]() SC28L92A1BS,551 |
![]() NXP Semiconductors |
![]() UART Interface IC 3V-5V 1CH UART |
![]() Data Sheet |
![]()
|
|
||||||||||||||
(China (Mainland))










